Example augmented reality controllers and related methods are disclosed herein. An example wearable device for controlling digital reality content includes a frame sized to fit around a neck of a user and a first sensor coupled to a first portion of the frame. The first sensor is to generate biosensor data for the user wearing the frame. The example wearable device includes a second sensor coupled to a second portion of the frame. The second sensor is to generate second sensor data different from the biosensor data. One or more of the biosensor data or the second sensor data is to be used by a processor in communication with the first sensor and the second sensor to control the digital reality content.
Patent Grants
Persona Prediction for Access to Resources
Techniques are described herein for determining whether a particular user is authorized to access data, corresponding to a particular field, in a farmland database. A method includes: receiving a location history corresponding to a user, the location history including historical location data that indicate, for each time of a plurality of times, a location of the user at the time; applying the historical location data as inputs across a trained machine learning model to predict a persona corresponding to the user; receiving, from the user, a request to access data; in response to receiving the request to access the data, determining that the request is authorized based on the predicted persona corresponding to the user; and in response to determining that the request is authorized, providing access to the data.
Rotation Hoists
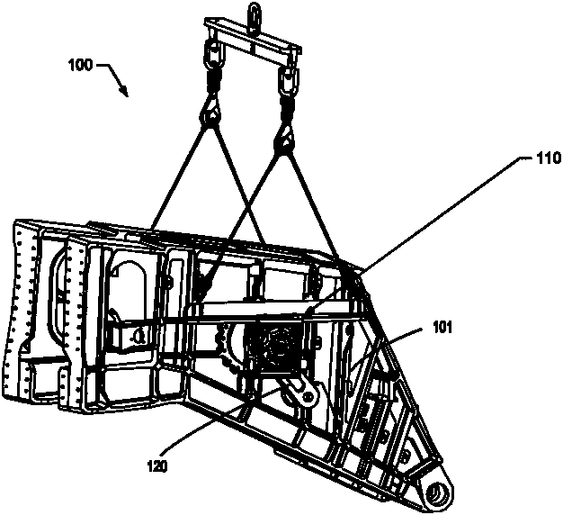
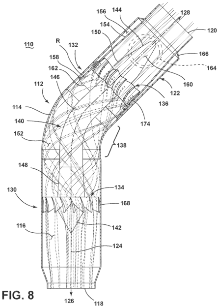
Rotation hoists are disclosed. A disclosed example rotation hoist to support a component includes a platform having a first end and a second end opposite the first end, a body supported by the platform, a rotator supported by the body, the rotator couplable to the component at a first position of the component, and an arm extending from the rotator, the arm couplable to the component at a second position of the component different from the first position, the rotator to rotate the arm to rotate the component.
METHODS AND APPARATUS TO GENERATE AND MANAGE WORKLOAD DOMAINS IN VIRTUAL SERVER RACKS
Methods , apparatus , systems and articles of manufacture are
disclosed . An example apparatus includes a requirement
translator to map a requirement to a hardware resource to
execute an application in a workload domain , a cost calcu
lator to calculate a cost for the hardware resource based on
a demand for the hardware resource , an option generator to
determine whether the cost exceeds a cost budget , and a
resource allocator to add the hardware resource to the
workload domain when the cost does not exceed the cost
budget .
Turbine Engine with a Blade Assembly Having Cooling Conduits
A gas turbine engine having a blade assembly with a platform, an airfoil, and a shank. The airfoil has a plurality of cooling conduits, and the shank has a plurality of inlet passages to provide cooling fluid to the cooling conduits in the airfoil. The cooling fluid is vented through a plurality of cooling holes along the trailing edge of the airfoil. The blade assembly has specific geometries that improve durability.
METHODS AND APPARATUS TO REDUCE NOISE FROM HARMONIC NOISE SOURCES
Methods , apparatus , systems and articles of manufacture are
disclosed to reduce noise from harmonic noise sources . An
example apparatus includes a contour tracer to determine a
first point of comparatively large amplitude of a frequency
component in a frequency spectrum of an audio sample ,
determine a set of points in the frequency spectrum having
amplitude values within an amplitude threshold of the first
point , frequency values within a frequency threshold of the
first point , and phase values within a phase threshold of the
first point , increment a counter when a distance between ( 1 )
a second point in the set of points and ( 2 ) the first point
satisfies a distance threshold , and when the counter satisfies
a counter threshold , generate the contour trace , the contour
trace including the set of points , and a subtractor to remove
the contour trace from the audio sample when the amplitude
values satisfy an outlier threshold .
Methods and Apparatus to Determine the Load of a Vehicle via Camera Based Height Measurement
Methods, apparatus, systems, and articles of manufacture to determine the load of a vehicle via camera-based height measurement are disclosed herein. An example vehicle described herein includes a suspension assembly associated with a wheel, a first feature, a first camera, and a processor to execute instructions to capture, via the first camera, a first image including the first feature and a second feature, the first feature and a second feature having a first spatial relationship in the first image, capture, via the first camera, a second image including the first feature and the second feature, the first feature and the second feature having a second spatial relationship in the second image, and determine, based on a difference between the first spatial relationship and the second spatial relationship, a deflection of the suspension assembly.
Fan and Light Units and Associated Mounting Arrangements for Use at a Loading Dock
Example fan and light units and associated mounting arrangements for use at a loading dock are disclosed. An example apparatus includes a frame including a bar to be pivotally coupled to a support system via a point of attachment on the bar. The apparatus includes a fan and a controller to be coupled to the frame with the bar extending in a first direction away from the controller and toward the point of attachment, the controller to control operation of the fan. The apparatus includes a handle to be connected to a portion of the frame extending away from the controller in a second direction opposite the first direction, the handle spaced apart from a housing of the fan, the handle to be lower than the controller and lower than at least a midpoint of the fan when the apparatus is supported by the support system.
Propeller Assembly and Pitch Control Unit
A variable pitch propeller assembly operatively coupled with an engine and methods for controlling the pitch of a plurality of propeller blades thereof is provided. In one example aspect, the variable pitch propeller assembly includes features for combining overspeed, feathering, and reverse functionality in a single secondary control valve. The secondary control valve is operable to selectively allow a controlled amount of hydraulic fluid to flow to or from a pitch actuation assembly such that the pitch of the propeller blades can be adjusted to operate the variable pitch propeller assembly in one of a constant speed mode, a feather mode, and a reverse mode.
Variable Flow Characteristic Valves
Variable flow characteristic valves are disclosed. A disclosed example valve for controlling a flow characteristic therethrough includes a first plate having a first aperture pattern, a second plate proximate the first plate, the second plate having a second aperture pattern, and a rotator to rotate the second plate relative to the first plate to vary a degree of alignment between the first and second aperture patterns.
